Umiejscowienie: 40 przewodowe złącze zlokalizowane poniżej skrzynki z bezpiecznikami
Załącznik 111922Załącznik 111923
Jest ktoś wstanie opisać ta wtyczkę?? albo moze jakiś schemacik??
Printable View
Umiejscowienie: 40 przewodowe złącze zlokalizowane poniżej skrzynki z bezpiecznikami
Załącznik 111922Załącznik 111923
Jest ktoś wstanie opisać ta wtyczkę?? albo moze jakiś schemacik??
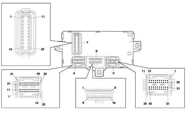
Załącznik 111928
złącze "A"?
KONEKTOR A
1. Sygnał otwarcia drzwi od strony kierowcy (na słupku drzwi)
2. Sterowanie kierunkowskazu bocznego lewego
3. Sterowanie kierunkowskazu tylnego prawego
4. Sygnał czujnika poziomu paliwa (dodatni)
5. Sterowanie światłem postojowym tylnym lewym
6. Sterowanie światłem postojowym tylnym prawym
7. Linia szeregowa urządzenia alarmowego wolumetrycznego
8. Sygnał otwarcia drzwi od strony kierowcy
9. Brak połączenia
10. Linia szeregowa dla AUTOCLOSE
11. Sygnał otwarcia drzwi od strony pasażera.(na słupku drzwi).
12. Sterowanie kierunkowskazem tylnym lewym
13. Sterowanie kierunkowskazem bocznym prawym
14. Syganł włączonego hamulca postojowego
15. Sygnał czujnika poziomu paliwa (ujemny)
16. Sygnał otwarcia drzwi tylnych lewych
17. Sygnał sterujący odblokowaniem drzwi przednich prawych (NA)
18. Zespół 3 linia K
19. Brak połączenia
20. Brak połączenia
21. Sterowanie czasem włączenia lampki oświetlenia wnętrza
22. Sterowanie prawym światłem STOP
23. Zasilanie lampki oświetlenia wnętrza
24. Sygnał sterujący odblokowaniem drzwi przednich lewych (NA)
25. Sygnał otwarcia drzwi od strony pasażera
26. Sygnał otwarcia drzwi tylnych prawych
27. Zasilanie czujników wolumetrycznych
28. Brak połączenia
29. Brak połączenia
30. Brak połączenia
31. Sterowanie światłem przeciwmgielnym tylnym
32. Sterowanie lewym światłem STOP
33. Zasilanie lampki oświetlenia bagażnika
34. Sygnał blokady drzwi - drzwi przednie lewe (NC)
35. Sygnał blokady drzwi - drzwi przednie prawe (NC)
36. Sygnał otwarcia bagażnika
37. Brak połączenia
38. Brak połączenia
39. Brak połączenia
40. Brak połączenia
KONEKTOR B
1. Linia K dla ABS
2. N.C. (standard USA)
3. Linia K dla Airbag
4. Masa mocy
5. Masa sygnału
6. Can B
7. Linia K dla Centrali Sterującej Silnikiem /Centralki Automatyczna Skrzynia Biegów
8. Linia K immobilizer
9. Przystosowanie dla zespołów 1 (deska rozdzielcza)
10. N.C. (standard USA)
11. Urządzenie alarmowe
12. Przystosowanie dla zespołów 2 (przednie)
13. Przystosowanie dla zespołów 3 (tylne)
14. Can A
15. N.C. (linia L)
16. Zasilanie
KONEKTOR C
1. Sygnał biegu wstecznego dla zespołu przełącznika świateł pod kierownicą
2. Bez połączenia
3. Oplot ekranujący
4. Antena immobilizer
5. Antena immobilizer
6. Linia szeregowa ABS
7. Sygnał tachometru z ABS
8. Sterowanie cewki przekaźnika świateł przeciwmgielnych
9. Sterowanie cewki przekaźnika świateł drogowych
10. Zasilanie INT prądnicy tachometrycznej
11. Brak połączenia
12. Brak połączenia
13. Sygnał spryskiwaczy reflektorów
14. Sterowanie cewki przekaźnika spryskiwaczy reflektorów 15. Masa prądnicy tachometrycznej
16. Linia K dla ABS
17. Sygnał tachometryczny z generatora impulsów
18. Sygnał poziomu płynu hamulcowego
19. Sygnał D+ alternatora
20. Linia K do diagnostyki Centralki Sterującej Silnikiem
21. Masa anteny częstotliwości radiowej
22. Brak połączenia
23. Brak połączenia
24. Sygnał otwarcia bagażnika
25. Linia szeregowa syreny alarmu
26. CAN A dla węzła elektrycznego urządzenia wspomagającego układ kierowniczy
27. CAN B dla węzła elektrycznego urządzenia wspomagającego układ kierowniczy
28. Powtórzenie dla sygnału tachometrycznego
29. Interfejs ISO5 łączności immobilizera z Centralką Sterowania Silnikiem
30. Sterowanie światłem pozycyjnym przednim prawym
31. Antena częstotliwości radiowej
32. Brak połączenia
33. Brak połączenia
34. Zasilanie syreny alarmu
35. Przygotowanie dla zespołów 2 (linia K dla diagnostyki) 36. CAN A z Centralki Sterowania Silnikiem
37. CAN B z Centralki Sterowania Silnikiem
38. Sterowanie kierunkowskazem przednim lewym
39. Sterowanie kierunkowskazem przednim prawym
40. Sterowanie światłem pozycyjnym przednim lewym
ZŁĄCZE Y
1. Zasilanie blokady drzwi
2. Sygnał świateł Stopu
3. Syganał świateł biegu wstecznego
4. Brak połączenia
5. CAN B Centralki Deski Rozdzielczej
6. Sterowanie cewką przekaźnika szyby tylnej ogrzewanej
7. CAN A Centralki Deski Rozdzielczej
8. Sterowanie cewką przekaźnika świateł mijania
9. Zasilanie INT dla Body Computer
10. Sterowanie silniczków Blokowania drzwi
11. Sterowanie silniczków odblokowania drzwi
12. Zasilanie instalacji oświetleniowej z wyłącznika zapłonu
13. Zasilanie INT dla Węzła zestawu wskaźników
14. Sterowanie cewek przekaźników urządzeń opcyjnych
15. Zasilanie oświetlenia wewnętrznego i lampki oświetlenia tablicy rejestracyjnej
16. Brak połączenia
17. Zasilanie urządzeń pomocniczych / urzadzenia SBMT
18. Zasilanie Body Computer (immobilizer, CAN, światłą pozycyjne, światła przeciwmgielne tylne)
19. Zasilanie kierunkowskazów, świateł awaryjnych, Węzła zestawu wskaźników
20. Masa Blokowania drzwi
Załącznik 111929
ZŁĄCZE D - 32 pin - kolor (czarno/fioletowy lub niebiesko/fioletowy)
1. Zasilanie podnośnika szyby tylnej lewej
2. Zasilanie podnośnika szyby tylnej prawej
3. Zasilanie otwieranego dachu
4. Zasilanie ogrzewanych siedzeń
5. Zasilanie trzeciego światła stopu
6. Sygnał stopu dla przyczepy
7. Sygnał biegu wstecznego
8. Sterowanie światłem biegu wstecznego od strony pasażera
9. Hamulec wycieraczki szyby tylnej
10. Linia CAN A (przystosowanie do zespołów w tyle samochodu)
11. Zasilanie z bezpiecznika F32 (przystosowanie)
12. Gniazdko prądowe mocy
13. Zasilanie Subwoofer
14. Gniazdko prądowe mocy
15. Zasilanie ogrzewanej szyby tylnej
16. Sterowanie blokowaniem drzwi
17. Zasilanie podnośnika szyby przedniej prawej (przystosowanie)
18. Sterowanie odblokowaniem drzwi
19. Zasilanie / oświetlenie elektrycznych lusterek
20. Zasilanie silnika wycieraczek
21. Oświetlenie elementu sterującego ogrzewanymi siedzeniami
22. Przystosowanie do sterowania lampką sygnalizacyjną napięcia pasów bezpieczeństwa
23. Przystosowanie zasilania czujnika deszczu z F49 i gniazdka prądowego sygnału dla aftermarket
24. Int. dla przyczepy
25. Zasilanie lampki oświetlenia tablicy rejestracyjnej (przystosowanie)
26. Zasilanie lampki oświetlenia tablicy rejestracyjnej
27. Zasilanie lampki (przystosowanie)
28. Linia CAN B (przystosowanie do zespołów w tyle samochodu)
29. Wolny
30. Zasilanie podnośnika szyby przedniej lewej (przystosowanie)
31. Lusterko ogrzewane lewe i prawe
32. Zasilanie pompy benzyny
ZŁĄCZE A - 20 pin - kolor (brązowo/fioletowy lub niebiesko/fioletowy)
1. Sygnał sterujący korektorem ustawienia reflektora prawego i lewego
2. Zasilanie silników korektora ustawienia reflektora prawego i lewego
3. Zasilanie lewego światła mijania
4. Linia szeregowa automatycznej skrzyni biegów
5. Sterowanie elektrycznym urządzeniem wspomagającym układ kierowniczy City / Normal
6. Poziom oleju Tds
7. Int./A dla cewek przekaźników
8. Sygnał sterowania biegu wstecznego
9. Zasilanie pompy paliwa
10. Zasilanie wycieraczki szyby przedniej / pompa dwukierunkowa
11. int. dla ABS
12. Zasilanie prawego światła mijania
13. + lampki układu nagrzewnicy / klimatyzatora
14. Zasilanie wyłącznika świateł stopu
15. Sygnał sterujący światłami stop
16. Sygnał stopu dla ABS
17. Int. dla elektrycznego urządzenia wspomagającego układ kierowniczy
18. Dla wyłącznika Traction control
19. Zasilanie wyłącznika biegu wstecznego / instalacji automatycznej skrzyni biegów
20. Masa korektora ustawienia reflektora lewego i prawego
ZŁĄCZE C - 2 pin - kolor (szary)
A. Zacisk dodatni akumulatora dla skrzynki podstawowej deski rozdzielczej
B. Zacisk dodatni akumulatora dla skrzynki opcyjnej deski rozdzielczej
ZŁĄCZE B - 2 pin - kolor (niebieski)
A. Zacisk dodatni akumulatora dla urządzeń pomocniczych (przystosowanie)
B. Wolny
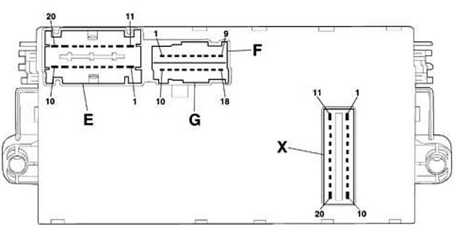
Załącznik 111930
ZŁĄCZE E - 20 pin - kolor (zielono/filetowy lub czarno/fioletowy)
1. Int./A od wyłącznika zapłonu
2. Sygnał sterujący światłami postojowymi od wyłącznika zapłonu
3. Int. dla radia samochodowego
4. Int. dla radiotelefonu (Przystosowanie)
5. CAN B radio samochodowe
6. int. dla airbagu
7. Zasilanie radia samochodowego i jego pamięci
8. Zasilanie radia samochodowego / radiotelefonu (przystosowanie)
9. Zasilanie zapalniczki
10. Masa mocy skrzynki bezpiecznikowej deski rozdzielczej
11. int. od wyłącznika zapłonu
12. Oświetlenie radia samochodowego / radiotelefonu
13. Oświetlenie zapalniczki
14. Int./A chronione przez F31 (przystosowanie)
15. Poziom oleju silnika Tds
16. Sterowanie elektrycznym urządzeniem wspomagającym układ kierowniczy City / Normal
17. CAN A radio samochodowe
18. Brak połączenia
19. Zasilanie podnośnika szyby przedniej prawej
20. Zasilanie podnośnika szyby przedniej lewej
ZŁĄCZE F - 9 pin kolor (czarny)
1. Linia szeregowa automatyczna skrzynia biegów - poziom oleju
2. Int. od F37 (przystosowanie)
3. Brak połączenia
4. Brak połączenia
5. Przystosowanie sterowania lampką sygnalizacyjną zapięcia pasów bezpieczeństwa dla węzła zestawu wskaźników
6. Brak połączenia
7. Brak połączenia
8. Przystosowanie, oświetlenie elementu sterującego korekcji ustawienia reflektorów
9. Przystosowanie, + świateł
ZŁĄCZE G - 9 pin kolor (fioletowy)
10. Przystosowanie, masa korektora ustawienia reflektorów
11. Element sterujący wycieraczki szyby tylnej
12. Int. panel elementów sterujących
13. Sygnał + świateł z zespołu przełączników pod kierownicą
14. Zasilanie korektora ustawienia świateł na zestawie wskaźników
15. Hamulec wycieraczki szyby tylnej
16. Zasilanie instalacji oświetleniowej
17. Zasilanie wycieraczki szyby tylnej
18. Sygnał sterujący korektorem zasilania reflektorów
ZŁĄCZE X - 20 pin
1. Zasilanie blokady drzwi
2. Sygnał stop
3. Syganał świateł biegu wstecznego
4. Brak połączenia
5. CAN B
6. Sterowanie cewką przekaźnika
7. CAN A
8. Sterowanie cewką przekaźnika śwaiteł mijania
9. int. dla body computer
10. Sterowanie zablokowaniem drzwi
11. Sterowanie odblokowaniem drzwi
12. Zasilanie instalacji oświetleniowej
13. Int. chroniony dla węzła zestawu wskaźników
14. Sterowanie cewką urządzeń opcyjnych
15. Zasilanie oświetlenia tablicy rejestracyjnej i oswietlenia kabiny
16. Brak połączenia
17. Zasilanie i urzadzenia pomocnicze
18. Zasilanie body computer (immobilizer, CAN, światła pozycyjne, tylne światła przeciwmgielne)
19. Zasilanie chronione kierunkowskazy - światła alarmowe / węzeł zestawu wskaźników
Załącznik 111931
ZŁĄCZE A - 1 pin
A. Zasilanie skrzynki bezpiecznikowej z dodatniego zacisku akumulatora (śuba dwustronna M6)
ZŁĄCZE B - 32 pin - kolor (czarno/fioletowy lub niebisko/fioletowy)
1. Wolny
2. Zasilanie ogrzewanego filtru
3. Przystosowanie do zasilania cewki przekaźnika automatycznej skrzyni biegów (T20)
4. Zasilanie sprężarki klimatyzatora
5. Sterowanie przekaźnikiem sprężarki klimatyzatora
6. Zasilanie cewki przekaźnika ogrzewanego filtru
7. Zasilanie sondy lambda - elektrozawór canister - tachometr
8. + 15/54 zasilanie cewek przekaźnika układu sterowania silnikiem
9. + 15/54 key sense centralki sterującej silnikiem
10. Zasilanie cewki stycznika układu sterującego silnikiem
11. Sterowanie przekaźnikiem pompy paliwa - elektrostop
12. Sterowanie przekaźnikiem układu sterujacego silnikiem
13. Wolny
14. Wolny
15. Wolny
16. Wolny
17. Przystosowanie do zasilania z przekaźnika automatycznej skrzyni biegów (T20)
18. Zasilanie wtryskiwaczy - cewki - pompa benzyny (1,2 fire 8V)
19. +50 elektromagnes rozrusznika
20. Wolny
21. Sterowanie przekaźnika II prędkości elektrowentylatora chłodnicy
22. Sterowanie przekaźnika ogrzewanego filtru
23. Zasilanie z dodatniego akumulatora centralki sterującej silnikiem
24. Wolny
25. Wolny
26. Wolny
27. Wolny
28. Sterowanie przekaźnikiem mono - I prędkości elektrowentylatora chłodnicy
29. Zasilanie cewki przekaźnika pompy paliwa - elektrostop 30. Zasilanie pompy paliwa - elektrostop
31. Zasilanie pamieci układu sterowania silnikiem
32. Zasilanie (mocy) centralki sterującej silnikiem
ZŁĄCZE C - 3 pin - kolor (czarny)
A. Zasilanie elektrowentylatora chłodnicy II prędkości
B. Zasilanie czujnika temperatury jednostopniowego elektrowentylatora chłodnicy
C. Zasilanie elektrowentylatora chłodnicy I prędkości
ZŁĄCZE D - 2 pin - kolor (niebieski)
A. Zasilanie centralki elektrycznego urządzenia wspomagającego układ kierowniczy.
B. Zasilanie centralki antiskid (ABS)
ZŁĄCZE E - 2 pin - kolor (szary)
A. Zasilanie skrzyniki bezpieczników deski rozdzielczej (podstawowa)
B. Zasilanie skrzyniki bezpieczników deski rozdzielczej (opcja)
ZŁĄCZE F - 32 pin - kolor (brązowo/fioletowy lub zielono/fioletowy)
1. Zasilanie silniczka pompy spryskiwaczy reflektorów
2. Przystosowanie do zasilania obciążeń głównych
3. Wolny
4. Zasilanie świaatła przeciwmgielnego lewego
5. Zasilanie świaatła przeciwmgielnego lprawego
6. Sterowanie przekaźnikiem spryskiwaczy reflektorów
7. Wolny
8. Wolny
9. Przystosowanie Int./A do urządzeń pomocniczych
10. Int./A dla klimatyzatora
11. Wejście zasilania Int./A
12. Sterowanie przekaźnika świateł drogowych
13. Wolny
14. Zasilanie przekaźnika automatycznej skrzyni biegów
15. + 50 wyłącznik zapłonu (URUCHOMIENIE)
16. Zasilanie pompy paliwa
17. Sterowanie przekaźnikiem automatycznej skrzyni biegów
18. Zasilanie sterowaniem automatyczną skrzynią biegów
19. Wolny
20. Przystosowanie Int. obciążenie główne
21. Sterowanie przekaźnikiem sygnału dźwiękowego
22. Zasilanie prawego światła mijania
23. Sterowanie przekaźnikiem świateł przeciwmgielnych
24. Przystosowanie zasilania świateł mijania
25. Zasilanie lewego światła mijania
26. Masa cewki przekaźnika elektrowentylatora kabiny
27. Zasilanie sygnału dźwiękowego dwutonowego, ton wysoki
28. Zasilanie sygnału dźwiękowego dziewięciotonowego - sygnału dwutonowego, ton niski
29. Wolny
30. + 15/54 wyłącznik zapłonu (+ klucz)
31. Zasilanie wyłącznika zapłonu
32. Zasilanie elektrowentylatora kabiny
Opisy dzięki uprzejmości kolegów z autokacik.pl