4 załącznik(i)
Wymiana dekielka gałki zmiany biegów
Witajcie,
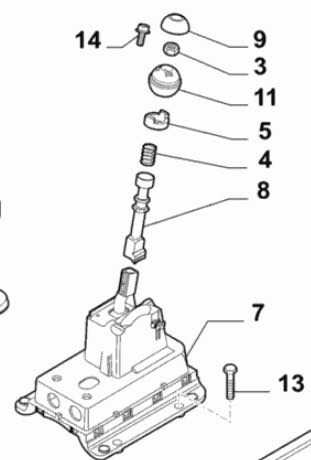
jakiś czas temu nabyłem używaną Julkę. Długo szukałem informacji na temat wymiany gałki/dekielka gałki zmiany biegów, ponieważ poprzednia właścicielka ją porysowała pierścionkami, jednak nic na ten temat w internecie nie znalazłem. Może doświadczonym majsterkowiczom się to nie przyda, jednak mi jako niedoświadczonemu przydałaby się taka intrukcja.
Dekielek zamówiłem oryginalny w Euromobil w Warszawie, kosztował 66,12zł. Największy problem był z demontażem starego, bałem się, że uszkodzę plastik oddzielający obie pólkule od siebie. W fabryce nie dość, że pokrywka jest zaczepiona zawiasami to przylepili ją dość mocnym klejem. Po jakimś czasie walki dwoma płaskimi śrubokrętami klej puścił, aby nie uszkodzić plastiku robiłem to przez chudą szmatkę. Dekielek zamontowałem na miejsce starego i po robocie. Uważam, że ten punkt jako jeden z dwóch z którymi kierowcy mają nieustanny kontakt, powinien być jak najbardziej nieskazitelny. Mam nadzieję, że komuś się to kiedyś przyda, łatwe do zrobienia a jaka radość z jazdy :). Załączam również parę fotek przed/po i instrukcję nadesłaną przez ASO.
pozdrawiam
Olafinski
Załącznik 255583Załącznik 255584Załącznik 255585Załącznik 255586