Dobrze że nowego nie sprawdzałem, tylko go zamontowałem :) już słyszałem o tym, że omomierz niszczy czujniki Halla :)
Printable View
Dobrze że nowego nie sprawdzałem, tylko go zamontowałem :) już słyszałem o tym, że omomierz niszczy czujniki Halla :)
Dobra, przespałem się z tematem i doszedłem do wniosku że muszę doprowadzić temat do końca.
Co mam zdjąć czy to jest dużo zdejmowania, że "zobaczyć czy rozrząd jest cały". Rozumiem, że mam zdjąć tę obudowę rozrządu - czy to dużo zdejmowania? Czy to realne w warunkach parkingowych? Czy jak się już tam dostanę to będę musiał coś mierzyć? Jakieś napięcia pasków czy tylko że są całe?
Bo muszę oszacować czy w to brnąć czy dzwonić po lawetę i zawieść pacjenta do mojego mechanika, czego tak bardzo chciałem uniknąć (lawety, nie mechanika). Tym bardziej, że znając obłożenie mojego mechanika to termin będę miał na za 2 tygodnie..
Możecie odpisać co mam zrobić _dokładnie_ - odkręcić obudowę rozrządu jest łatwo w tym silniku? (2.5 V6 24V) Jeśli chce tam się dostać bez żadnych podnośników i kanałów od góry na parkingu to muszę odkręcać coś jeszcze (tam chyba idą jakieś przewody związane z klimą też) żeby mieć do tego dostęp?
Jak już ją odkręce to co _dokładnie_ ma się kręcić - załóżmy, że będę miał drugą osobę do patrzenia czy się kręci ale które koło dokładnie ma badać?
Aha - i jak sprawdzić to okablowanie "do czujnika" - rozumiem, że jeśli mam napięcie na gnieździe czujnika to jedyne co muszę sprawdzić to żyłę z sygnałem. Gdzie ona wchodzi w komputer? Tam pod nogami pasażera? Jak poznać że to ten kabel?
Nie jestem mechanikiem ale myślałem, że czujnik wałka rozrządu to sam wymienię.
Do brzegu - dostałem się do ECU. Dużo kabli. Ma ktoś schemat który pomógł by mi zlokalizować gdzie znajdę miejsce w którym wchodzi sygnał od czujnika wałka rozrządu? Czy w takim czyms to znajdę: autoelektro.eu /index.php/pl/alfa-romeo/494-schemat-elektryczny-alfa-166 ? Rozmawiałem dziś z moim mechanikem twierdzi że na pewno jakiś zwierz uszkodził kabel :)
ECU to ME 2.1 czy 3.1 ?
Wierzę, że ME 2.1.
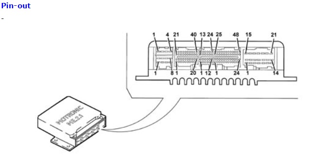
Interesuje Cię E39 i E40
Załącznik 222176
A-1, N.C.
A-2, Supply
A-3, Igntion earth
A-4, N.C.
A-5, Lambda sensor heater
A-6, Relay for 1 st fan speed
A-7, Ignition earth
A-8, Electronic earth (for sensors)
B-1, N.C.
B-2, N.C.
B-3, Programming
B-4, Battery
from C-1 to C-20, N.C.
C-21, Fuel vapour recovery solenoid valve
C-22, Supply for potentiometer - 1 accelerator pedal
C-23, Earth for potentiometer - 1 accelerator pedal
C-24, Signal for potentiometer - 1 accelerator pedal
C-25, Signal for potentiometer - 2 accelerator pedal
C-26, Earth for potentiometer - 2 accelerator pedal
C-27, Supply for potentiometer - 2 accelerator pedal
C-28, Sport throttle response on warning light
C-29, Fuel pump relay
C-30, N.C.
C-31, Lambda sensor earth
C-32, Lambda sensor signal
from C-33 to C-37, N.C.
C-38, Rpm signal
C-39, Diagnostic connection (line K)
C-40, N.C.
D-1, N.C.
D-2, N.C.
D-3, Relay for cooling fan 2 nd speed
D-4, N.C.
D-5, CAE gear selector switch
from D-6 to D-10, N.C.
D-11, CAN line "high"
D-12, CAN line "low"
D-13, Speedometer signal
D-14, Brake lights switch
from D-15 to D-16, N.C.
D-17, CAE recognition
D-18, N.C.
D-19, Clutch pedal switch
D-20, Cruise control set +
D-21, Cruise control set -
D-22, Cruise control - recall
D-23, Brake switch
D-24, Cruise control deactivation
E-1, Operation of injector for cyl. 3
E-2, Operation of injector for cyl. 6
E-3, N.C.
E-4, Air conditioning compressore relay feed
from E-5 to E-9, N.C.
E-10, Cruise control on warning light
E-11, N.C.
E-12, N.C.
E-13, Operation of injector for cyl. 2
E-14, Operation of injector for cyl. 5
E-15, Air conditioning pressure switch 1st stage
E-16, N.C.
E-17, Air conditioning pressure switch 2nd stage
from E-18 to E-20, N.C.
E-21, Air conditioning request switch
E-22, N.C.
E-23, Sport throttle response switch
E-24, Sport throttle response switch earth
E-25, Operation of injector for cyl. 1
E-26, Operation of injector for cyl. 4
E-27, N.C.
E-28, Coolant temperature sensor earth
E-29, Coolant temperature sensor signal
E-30, N.C.
E-31, Potentiometer - 1 butterfly casing
E-32, Earth for potentiometer 1-2 butterfly casing
E-33, Supply for potentiometer 1-2 butterfly casing
E-34, Potentiometer - 2 butterfly casing
E-35, N.C.
E-36, N.C.
E-37, Rpm sensor (-)
E-38, Rpm sensor (+)
E-39 Timing sensor earths
E-40, Timing sensor signal
E-41, Earth for detonation sensor 1 (cylinders 1-4-5)
E-42, Signal for detonation sensor 1
E-43, Earth for detonation sensor 2 (cylinders 2-3-6)
E-44, Signal for detonation sensor 2
E-45, Air temperature sensor
E-46, Flow meter - reference voltage 5V
E-47, Output voltage (signal) - flow meter
E-48, Earth - flow meter
F-1, Butterfly casing motor integrated with D.V.L. (-)
F-2, Butterfly casing motor integrated with D.V.L. (+)
F-3, N.C.
F-4, N.C.
F-5, Operation of ignition coil for cyl. 6
F-6, Operation of ignition coil for cyl. 2
F-7, N.C.
F-8, Earth
from F-9 to F-12, N.C.
F-13, Operation of ignition coil for cyl. 4
F-14, N.C.
F-15, N.C.
F-16, N.C.
F-17, Operation of ignition coil for cyl. 3
F-18, N.C.
F-19, Operation of ignition coil for cyl. 5
F-20, Operation of ignition coil for cyl. 1
F-21, Operation of injection warning light
WoW! DZIĘKI! W stopce powiniennes dodac jeszcze numer konta! Haha! Żyjemy! Dobra. To jest plan:
Odpinać akumulator?
Rozumiem, że mam sprawdzić ciągłość przewodu E40 do jednej z dziurek w gnieździe w którym wpinam wtyczkę czujnika + ciągłość przewodu E39 do innej z dziurek w tym gnieździe?
Coś mogę uszkodzić? Jak to się sprawdza wypina się coś z ECU? jakaś złota rada?
Czy dobrze myślę: E40 to będzie syngał, czyli środkowa dziurka w gnieździe. A E39 (earths ??) to będzie zasilanie czy uziemienie? Chyba uziemienie? Czyli jeden z zewnętrznych pinów?
Odpinasz aku.
Odpinasz wtyczkę na ECU i mierzysz kable.
E40 to sygnał, czyli środkowy pin, E39 to masa, czyli któryś zewnętrzny.
ok. pomierzyłem ciągłość przewodów i są OK. Rozrząd cały. Zainteresował się moimi działaniami okoliczny mechanik i (po tym jak wszystko poskładałem spowrotem i podpiąłem aku) na przekręconym na kluczyku zapłonie zbadał (naciskając śrubokrętem) ciśnienie na końcu listwy przy wtryskiwaczach i stwierdził, że ciśnienie jest małe. Umówiłem się z nim, że zbada to manometrem w nast. tygodniu. Co myślicie o takim połączeniu czyli błąd P0340 "Camshaft position sensor" i to, że prawdziwym powodem jest ciśnienie na wtryskiwaczu?
No i co myślicie na ten temat?
Czy niskie cisnienie na wtryskiwaczach nie spowodowalo by jakiegos bledu pompy paliwa albo czegos takiego?
Alfa ciągle unieruchomiona :(